【烽巢網】

蘋果的充電線并不是很耐用。它們通常在一兩年后就會磨損,甚至會壞到不能給你的設備充電的程度。(我還注意到它們會逐漸變成酸澀的黃色。)但蘋果顯然正在研究一些讓它的電纜更耐用的想法,并為“可變剛度電纜”申請了專利。
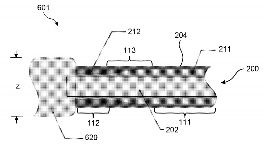
這項專利最先由AppleInsider報道,它描述了一些不同的電纜線的想法,這些電纜線不會輕易磨損。這些方法將使纜索的不同部分具有不同的剛度水平,同時保持纜索的厚度均勻。它們還將取代蘋果公司所稱的“抗拉套筒”——你會在許多電纜末端找到的硬帽子。
減壓套有助于防止電纜因彎曲而斷裂,這是很有幫助的,因為電纜經常在接近終端處急劇彎曲以插入。問題是,這些袖子通常無法防止電纜磨損。在這項專利中,蘋果公司的想法是改變整個電纜的柔韌性和硬度,從理論上講,無論你定期在哪里彎曲它,都可以更好地防止磨損,而不需要增加厚度(這意味著沒有更多的抗拉套筒)。

這只是一個專利申請,并不能保證蘋果會在未來的電纜中使用這種設計。但事實上,蘋果已經提交了這一申請,這是一個很好的跡象,表明它正在考慮電纜的耐久性。希望我們能看到一些改進。
請登錄以參與評論
現在登錄